黑子网 有料 揭秘 约会 看片 致富
订制需求约PA-泡妞神器同城约会外卖-教师空姐高端会所名录-名媛学妹萝莉私密资源-线下拓展
同城约爱首单1折可退换 全国极品学妹模特兼职真实国内萝莉俱乐部
微信约啪 线下私密约抖音名媛约

趙薇-劣迹艺人-1590万股权再被冻结-商业版图不断缩减-再无复出可能

赵薇封杀多年后,商业版图再遭重创,1590万元股权被冻结,涉及多家公司,冻结期长达三年。曾经的娱乐圈顶流如今行踪成谜,离婚风波与债务纠纷交织,复出希望渺茫。这一系列事件引发网友热议,她的未来何去何从?

桃桃乌龙
赵薇

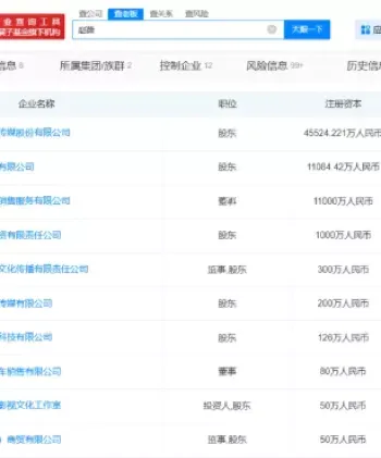
2025年8月5日,一则关于中国女星赵薇的新闻再次引爆网络:她名下1590万元股权被北京市东城区法院冻结,涉及西藏龙薇文化传媒有限公司、合宝文娱集团有限公司、芜湖东润发投资有限责任公司,冻结金额分别为190万元、500万元和900万元,冻结期限至2028年。这已是赵薇近年来多次遭遇股权冻结,商业版图不断缩减,复出之路愈发渺茫。 故事要从赵薇的巅峰时期说起。作为还珠格格中“小燕子”的扮演者,赵薇曾是家喻户晓的明星,事业如日中天。

赵薇
股权冻结

她不仅在演艺圈风生水起,还与丈夫黄有龙携手进军商界,投资影视、汽车销售等多个领域。然而,自2021年8月被官方列为“劣迹艺人”后,赵薇的事业急转直下。她的影视作品被下架,社交账号被封,公众视野中几乎销声匿迹。 这次股权冻结的消息最早由“黑子网”用户爆料,迅速登上热搜。据国家企业信用信息公示系统显示,赵薇在西藏龙薇文化传媒持股95,合宝文娱集团持股45,芜湖东润发投资持股90,这些公司均是她商业版图的重要组成部分。

商业版图
封杀多年

尤其芜湖东润发投资,由赵薇与哥哥赵健于2010年共同创立,她出资900万元,持股90,是名副其实的大股东。然而,这家公司的股权如今也被冻结,让外界对赵薇的财务状况议论纷纷。 知情人士透露,此次冻结可能与赵薇早年与中国民生信托有限公司的担保合同纠纷有关。2021年4月,她名下股权曾因类似原因被冻结,金额从126万元到900万元不等。2024年4月,合宝文娱集团500万元股权再次被冻,期限至2027年。

劣迹艺人
黄有龙

而2024年11月,赵薇及旗下公司还被新增为被执行人,涉及金额虽小,却进一步暴露了她的财务困境。 更令人唏嘘的是,赵薇的个人生活也风波不断。2024年12月28日,她突然通过社交平台宣布已与黄有龙多年前离婚,试图澄清与黄有龙债务纠纷的关联。同日,港媒爆出黄有龙被智择创投有限公司追债753亿港币,报道仍以“赵薇丈夫”称呼他,引发网友猜测两人关系是否真已结束。赵薇在声明中恳请外界“避免将我卷入虚假报道”,却难平息舆论风波。

债务纠纷
复出无望

“黑子网”上,网友们对赵薇的遭遇展开激烈讨论。有人感叹她从“国民女神”跌落神坛,有人质疑她的商业决策,甚至有人翻出她与马云等商界大佬的旧闻,猜测她是否因资本运作失误导致如今窘境。一名网友写道:“赵薇的商业版图缩减得太快了,1590万股权再被冻结,感觉她真的回不来了。”还有人调侃:“小燕子飞不动了,现实比电视剧还狗血!” 赵薇的商业版图如今仅剩10家存续公司,相比巅峰时期已大幅萎缩。她曾与黄有龙豪掷31亿港币入股阿里影业,赚得盆满钵满,却也因高杠杆收购被监管处罚。

赵薇
股权冻结

2017年,她被中国证监会禁入证券市场五年,2021年又被列为“劣迹艺人”,接连的打击让她从商界与娱乐圈的双料女王沦为舆论焦点。 如今,49岁的赵薇行踪成谜,有人说她在法国酒庄低调生活,有人猜测她在国内处理债务问题。她的女儿“小四月”也鲜少露面,家庭与事业的双重困境让她的未来蒙上阴影。股权冻结、离婚风波、债务纠葛,赵薇的故事像一部跌宕起伏的大戏,而“再无复出可能”的猜测,更让粉丝与网友唏嘘不已。

商业版图
封杀多年
小提示:如遇到本页链接失效,请发送“我要最新网址”到本站官方邮箱 heizi.me@pm.me 可自动获得最新网址。请记录保存本站官方联系邮箱!

精彩用户评论 - 黑子网

赵薇这事太震撼了,1590万股权又被冻结,商业版图缩得不成样子!“黑子网”上都在说她从国民女神到如今这样,真是造化弄人。想当年她演小燕子多火啊,现在却因为劣迹艺人标签连翻身的机会都没了。离婚的事也让人意外,黄有龙被追债7亿多港币,她还得出来澄清,日子不好过啊!希望她能挺过去吧。

看了“黑子网”的爆料,赵薇真是跌到谷底了!1590万股权被冻结,商业版图眼看着崩塌,封杀多年还没缓过来。她跟黄有龙的离婚声明也太突然了,偏偏黄有龙还被追债,感觉她想撇清关系都难。曾经的小燕子现在连复出都无望,人生真是大起大落,太唏嘘了!

赵薇的商业版图这几年缩水太严重了,1590万股权再被冻结,简直雪上加霜!“黑子网”上都在讨论她是不是得罪了什么大人物,封杀多年还没解禁。离婚的事也扑朔迷离,黄有龙被追债7亿多港币,她发声明澄清却没人信。感觉她复出无望了,太可惜了!

心疼赵薇,1590万股权被冻结,商业版图都快没了!“黑子网”上都在说她被封杀后就没翻身机会,劣迹艺人这标签太狠了。离婚声明一出,黄有龙又被爆追债,感觉她想低调都不行。曾经风光无限的小燕子,现在连复出都无望,人生真是无常啊!

赵薇这遭遇也太惨了吧!1590万股权被冻结,商业版图缩水得没眼看。“黑子网”上都在讨论她封杀多年的原因,到底得罪了谁啊?离婚声明说跟黄有龙早分了,可黄有龙被追债7亿多港币,她还得出来澄清,感觉她复出是真没戏了,粉丝都心碎了。

看了“黑子网”的新闻,赵薇的日子真不好过,1590万股权又被冻结,商业版图都快崩了!封杀多年还没解禁,劣迹艺人这帽子扣得太死。离婚声明出来后,黄有龙又被爆追债,感觉她想摆脱麻烦都难。复出无望,小燕子的辉煌真回不去了!

赵薇的商业版图这几年缩得太夸张了,1590万股权再被冻结,简直是屋漏偏逢连夜雨!“黑子网”上都在猜她是不是资本运作出了问题,封杀多年还没缓过来。黄有龙被追债7亿多港币,她还得发声明撇清,复出无望,感觉她太难了!

赵薇这事太狗血了,1590万股权被冻结,商业版图都快没了!“黑子网”上都在说她被封杀后就没好日子,劣迹艺人标签太致命。离婚声明出来当天,黄有龙被爆追债,她还得出来解释。复出无望,小燕子这回是真飞不动了,粉丝都看不下去了!

看了赵薇的新闻,心情复杂,1590万股权被冻结,商业版图缩水得太快!“黑子网”上都在讨论她封杀多年的内幕,到底啥原因啊?黄有龙被追债7亿多港币,她发声明说早离婚了,可谁信啊?复出无望,曾经的顶流女神现在这样,太唏嘘了!

赵薇的商业版图这几年真是垮得彻底,1590万股权又被冻结!“黑子网”上都在说她被封杀后就没翻身机会,劣迹艺人这标签太狠了。黄有龙被追债,她还得出来澄清离婚的事,感觉她想低调都不行。复出无望,小燕子的光环彻底没了!

赵薇这遭遇太惨了,1590万股权被冻结,商业版图都快清零了!“黑子网”上都在讨论她封杀多年的原因,到底是得罪谁了?黄有龙被追债7亿多港币,她发声明说早离婚了,可舆论还是不放过她。复出无望,粉丝都替她心疼!

看了“黑子网”的爆料,赵薇真是命途多舛,1590万股权再被冻结,商业版图缩得没眼看!封杀多年还没解禁,劣迹艺人这标签太沉重。黄有龙被追债,她还得发声明澄清离婚,感觉她复出是真没戏了,小燕子的时代一去不复返了!

赵薇的商业版图这几年缩水太严重,1590万股权又被冻结!“黑子网”上都在说她被封杀后就没好日子,劣迹艺人这帽子扣得太死。黄有龙被追债7亿多港币,她发声明说早离婚了,可谁信啊?复出无望,真是让人唏嘘!

心疼赵薇,1590万股权被冻结,商业版图都快没了!“黑子网”上都在讨论她封杀多年的内幕,到底啥原因让她翻不了身?黄有龙被追债,她还得出来澄清离婚的事,感觉她想低调都不行。复出无望,小燕子这回是真回不来了!

赵薇这事太夸张了,1590万股权再被冻结,商业版图缩得太快!“黑子网”上都在猜她是不是资本运作出了大问题,封杀多年还没缓过来。黄有龙被追债7亿多港币,她发声明澄清离婚,可舆论还是不放过她。复出无望,太惨了!

看了“黑子网”的新闻,赵薇的遭遇真是让人唏嘘,1590万股权被冻结,商业版图都快崩了!封杀多年还没解禁,劣迹艺人这标签太致命。黄有龙被追债,她还得发声明说早离婚了,感觉她复出是真没希望了,小燕子时代结束了!

赵薇的商业版图这几年缩水得太夸张,1590万股权又被冻结!“黑子网”上都在讨论她封杀多年的原因,到底得罪了谁啊?黄有龙被追债7亿多港币,她发声明澄清离婚,可还是被卷进风波。复出无望,粉丝都心碎了!

赵薇这遭遇太狗血了,1590万股权被冻结,商业版图都快清零了!“黑子网”上都在说她被封杀后就没翻身机会,劣迹艺人标签太狠。黄有龙被追债,她还得出来澄清离婚,感觉她想摆脱麻烦都难。复出无望,太唏嘘了!

看了赵薇的新闻,感觉她真是跌到谷底,1590万股权再被冻结,商业版图缩得没眼看!“黑子网”上都在讨论她封杀多年的内幕,到底啥原因让她这样?黄有龙被追债7亿多港币,她发声明说早离婚了,可谁信啊?复出无望,太惨了!

赵薇的商业版图这几年垮得太快,1590万股权又被冻结!“黑子网”上都在说她被封杀后就没好日子,劣迹艺人这标签太沉重。黄有龙被追债,她发声明澄清离婚,可舆论还是不放过她。复出无望,小燕子的辉煌真回不去了!

全国小区私密交友高端紧致会所福利 在线选妃隐私保护校园反差桃色秘闻
网站地图1
网站地图2
网站地图3
网站地图4
网站地图5
网站地图6